使用示例中包含的墨水
是紅色的。
可用作 Shachihata 干筆的筆芯。
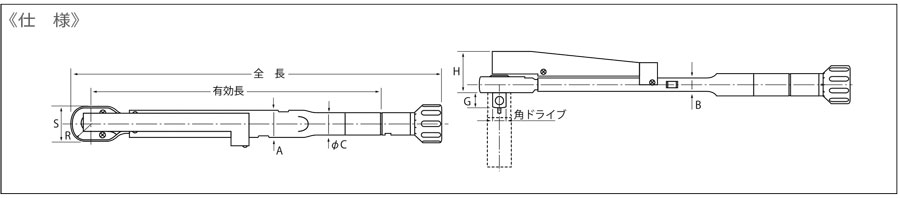
N-MQLK定制產品 標記扭矩扳手
日期:2024-08-27 人氣:3637 收藏
N-MQLK定制產品
●達到預定扭矩值時會發出“咔嗒”聲!您可以通過聲音和感覺來判斷何時擰緊
- 擰緊時在螺栓頭上做標記
- 包括一種尺寸的套筒(將制作其他尺寸)
- 結構簡單,易于維護
。市售深套筒,需進行孔加工安裝。
●保證精度:±3%。


| 新的 | 老的 |
|---|---|
| N25MQLK | N250MQLK |
| N50MQLK | N500MQLK |
| N100MQLK | N1000MQLK |
| N140MQLK | N1400MQLK |




